LG מתכננת לנו הפתעה: סמארטפון עם מסך נגלל

פרויקט Explorer של LG, שהניב את מכשיר ה-Wing שהושק באחרונה, עשוי להציג בקרוב את תוצר "פרויקט B" - סמארטפון בעיצוב מהפכני – עם מסך נגלל  

LG ידועה בהרפתקנותה בעיצובי הסמארטפונים שלה. לאחר שהשיקה את מכשיר ה-Wing – הראשון במסגרת פרויקט Explorer שלה, שנועד להציג דגמי סמארטפונים בעיצובים נועזים וחדשניים, בעלי תכונות חדשות ומיוחדות, החברה מתכננת כעת עוד סמארטפון בעיצוב מהפכני – עם מסך נגלל.

תחת שם הקוד "פרויקט B", השמועות אומרות כי החברה מתכננת להשיק את המכשיר הזה כבר במרס 2021, ובהשקת ה-Wing היא אפילו סיפקה רמז עם הצצה למכשיר שמצוי בפיתוח במסגרת פרויקט Explorer, בעל מסך נגלל.

הרמז הזה הפך מוחשי יותר בזכות זכויות פטנט שקיבלה LG, שאותר על ידי אתר LetsGoDigital , שנקרא "מסוף סלולרי נגלל בהחלקה" ("Roll-slide mobile terminal"). בקשת הפטנט הוגשה באוגוסט 2019, ומאז נכללה במאגר הנכסים הרוחניים העולמי World Intellectual Property Office) WIPO).

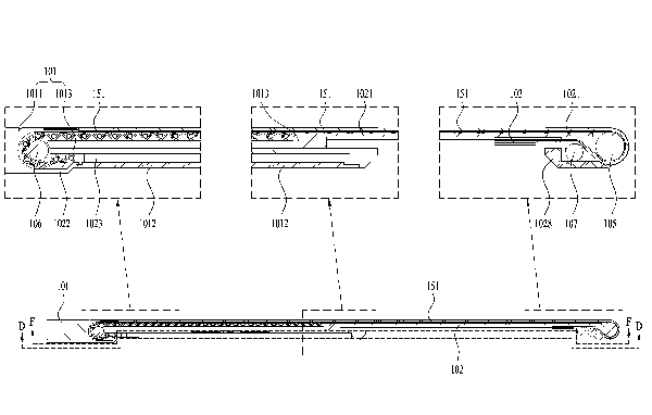
לפי התיאור בפטנט, מדובר במכשיר בעל מסך OLED, שבמצב סגור נראה כמו סמארטפון מלבני רגיל, וכשגוללים אותו משני צדדיו שטחו מוכפל, ובתוך כך, נשלפת גם מסגרת נוספת שמקיפה אותו. ניתן גם לגלול אותו רק מצד אחד. כשמחזירים אותו למצב רגיל – המסך הפתוח נגלל בחזרה לתוך התושבת.

LG משתמשת במסך במעין מנוע עם גלגלי שיניים ובחומרים גמישים לצורך גלילה חלקה, והפטנט מתאר גם מכניזם המשולב במסך, שמונע פתיחה אקראית ולא מכוונת שלו.

אחד האיורים בפטנט של LG. צילום: WIPO

אחד האיורים בפטנט של LG. צילום: WIPO

עוד נכתב בתיאור הפטנט, כי המסך מתאים את עצמו אוטומטית לרוחב או לגובה בהתאם למצב הפתיחה שלו, כמו גם תכונות נוספות שמאפשרות ריבוי משימות.

LG לא השיקה עד כה סמארטפון עם מסך מתקפל, אלא רק מכשירים בעלי שני מסכים, כמו ה-LG G8x, ה-V60 ThinQ ובאחרונה ה-Wing, אבל כיצרנית יש לא לא מעט ידע וניסיון בתחום המסכים הגמישים, והיא היחידה שהשיקה מסחרית טלוויזיה עם מסך נגלל לפני כשבועיים.

כרגע לא ידועים פרטים נוספים, ולנו לא נותר אלא לעקוב ולצפות להדלפות שלבטח יתחילו לצוץ בחודשים הקרובים. יהיה מעניין.

תגובות

(0)

כתיבת תגובה

האימייל לא יוצג באתר. שדות החובה מסומנים *

אין לשלוח תגובות הכוללות דברי הסתה, דיבה, וסגנון החורג מהטעם הטוב

אירועים קרובים