על השולחן של אפל: מארזי טעינה של AirPods בעיצוב צמידים ושרשראות
אפל קיבלה אישור על פטנט ל-"אביזר לאוזניות אלחוטיות", שמדבר על אביזרים שונים כמו צמידים או שרשראות, שיחליפו את קופסת הטעינה של ה-AirPods.
אפל קיבלה אישור על פטנט ל-"אביזר לאוזניות אלחוטיות". הרעיון שמאחורי הפטנט ישמח את מי שעושים שימוש יומיומי באוזניות: לעצב אביזרים שונים כמו צמידים או שרשראות, שיחליפו את קופסת הטעינה של ה-AirPods.
כל העניין של ה-AirPods וה-AirPods Pro הוא שהן קלות וקטנות כל כך, שלעיתים קרובות שוכחים איפה מניחים אותן, וגם כשמניחים אותן במארז הטעינה ושמים את המארז בהיסח הדעת איפשהו – צריך לחפש גם אותו, וכמובן, מארז הטעינה הוא אביזר חשוב בפני עצמו, שמעניק לאוזניות זמן שימוש סביר.

אחד האיורים ממסמכי הפטנט. צילום: ממסמכי הפטנט הציבוריים
מה שאפל מחפשת הוא דרך שבה המשתמש יכול לאחסן בקלות את האוזניות בזמן שהן לא בשימוש, והיא בוחנת כמה פתרונות.
"אביזרים למכשירים אלקטרוניים ניידים שמאפשרים למשתמש לשמור את המכשיר האלקטרוני הנייד הם בדרך כלל מגושמים ועשויים להיות לא נוחים, או עשלא לספק תכונות רצויות מסוימות, כגון יכולות טעינה", כתבה אפל במסמך הפטנט. "לפיכך, שיפורים וחידושים באביזרים למכשירים אלקטרוניים יכולים להיות רצויים כדי לשמור בצורה מהימנה את המכשיר האלקטרוני באביזר נוח, תוך מתן תכונות רצויות אחרות".
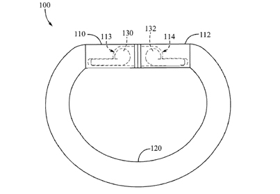
אחת האפשרויות היא אביזר דמוי שרשרת פתוחה בצורת U שניתן לתקוע בכל צד אוזנייה למשל, וכדי למנוע אפשרות של נפילת האוזניות – ליצור חיבור כלשהו בין שני הקצוות. עוד בוחנת אפל לפי מסמכי הפטנט גרסאות רבות ושונות של רעיון זה, כולל אחת שבה יש נורות המציגות את רמת הטעינה. ניתן להשתמש באביזר מעין זה, בצורת טבעת – שיכולה להיות צמיד או מחזיק מפתחות ועוד.











תגובות
(0)