בקרוב: אייפון עם מסך מעטפת?
אפל הגישה בקשה לרישום פטנט, המפרטת מכשיר אלקטרוני שמצופה כולו במסך זכוכית
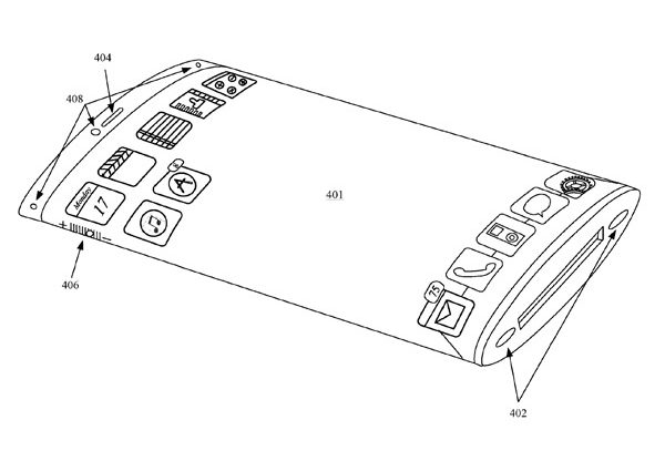
ממציאה לנו פטנטים: בקשה לרישום פטנט שהגישה אפל רומזת על כך שהחברה בוחנת מכשיר שיהיה מוקף כולו במסך זכוכית גמיש. בעבר הגישה כבר אפל בקשה לפטנט דומה, וכעת נראה שהיא מחדשת את ניסיונות הפיתוח של מוצר כזה.
נושא הפטנט, כפי שכתוב בבקשה של אפל הוא "מכשיר אלקטרוני עם מסך מעטפת".
בקשת הפטנט אינה מעידה, כמובן, על כך שאפל תממש את הרעיון, אלא יותר על כך שהיא מעוניינת להירשם כבעליו.
בקשת הרישום הוגשה על ידי אפל באוקטובר, ובתיאור שלה מצוין, כי מסך המעטפת "ייצור מעין לולאה רציפה סביב המשטח של מכשיר אלקטרוני". בקשת פטנט נוספת שהגישה אפל ביולי מרמזת גם על כך, שהמכשיר יעשה שימוש ב"תוכנה לזיהוי פנים… כדי לקבוע את הכיוון של המשתמש ביחס למכשיר". הבקשה האחרונה גם מציינת שהמסך ההיקפי יהיה עשוי זכוכית.
"קיים צורך בעיצוב חדש משופר של מכשיר אלקטרוני נייד, שמאפשר הרחבה של פונקציונליות ליותר מאשר משטח אחד של המכשיר", כתבה אפל בבקשת הפטנט, והוסיפה, כי החברה "בודקת דרכים למקסם את השימושיות של מקטעים שאינם בשימוש של מכשירים מעין אלה".











תגובות
(0)